+86-15996058266
Nhà / Tin tức / Bằng sáng chế & Ưu điểm của E-ASIA / Bằng sáng chế & Ưu điểm của E-ASIA

Bằng sáng chế & Ưu điểm của E-ASIA

Số Duyệt:0     CỦA:trang web biên tập     đăng: 2022-08-17      Nguồn:Site

Tin nhắn của bạn

facebook sharing button
twitter sharing button
line sharing button
wechat sharing button
linkedin sharing button
pinterest sharing button
whatsapp sharing button
sharethis sharing button

Chúng tôi có thể cung cấp các vòng bi giao phối của luyện kim loại, xe tải khai thác và khoan ở dạng tấm ngoài khơi và sửa chữa vòng bi với các sản phẩm và dịch vụ chất lượng cao của chúng tôi


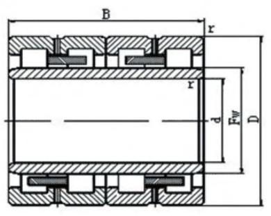
Tuổi thọ cao vòng bi lăn hình trụ bốn hàng

Vòng bi máy cán hình trụ bốn hàng được chia thành hai loại là máy cán thép và máy cán nhôm.Tốc độ quay của chúng lần lượt là 400-600rpm (thép) và 1500-2000rpm (nhôm).


Vòng bi lăn hình trụ bốn hàng có thể mang tải trọng hướng tâm và tải trọng sốc nặng hơn nhiều.Chúng có độ chính xác cao hơn và có thể được áp dụng trong các thiết bị chạy với tốc độ quay cao.Mài đồng thời bề mặt của mương và con lăn sau khi vòng trong được ấn vào cổ con lăn, nó giúp cải thiện độ chính xác của con lăn và điều chỉnh tự do khe hở lắp đặt của vòng bi.Những vòng bi này chủ yếu được áp dụng cho con lăn làm việc và con lăn dự phòng của máy cán và một số trường hợp khác.
FC: vòng ngoài kép, vòng trong đơn và vòng trong không có mặt bích.
FCD: vòng ngoài kép, vòng trong kép và vòng trong không có mặt bích.
FCDP: vòng ngoài kép, chỉ có mặt bích ở giữa, nhưng có gờ rời, vòng trong kép, bên trong không có mặt bích.


mang Không Kích thước (mm) Tải cơ bản (kN) Khối lượng (kg)
dxDxB Dyn.(Cr) Thống kê (Cor)
FC2640125 130x200x125 530 1200 14.6
FC3045120 150x225x120 645 1450 16.7
FC3246130 160x230x130 665 1705 16.9
FC3248124 160x240x124 685 1530 20.3
FC3248168 160x240x168 685 1530 26.4
FCD3446160 170x230x160 1100 2360 20
FC3452120 170x260x120 660 1790 24.6
FC3652124 180x260x124 735 1730 21.7
FC3652168 180x260x168 1070 2790 30.2
FC3652168/YA3 180x260x168 1070 2790 30.1
FC3854168 190x270x168 950 2430 30.2
FC3854168/YA3 190x270x168 950 2430 29.9
FC3854170/YA3 190x270x200 950 2430 30.2
FC4056188 200x290x192 985 2580 35.7
FC4462192/YA3 220x310x192 1300 1910 45.8
FC4462225 220x320x210 1450 4050 53.9
FC4666206/YA3 230x330x206 1350 3800 56.5
FC4866220/YA3 240x330x220 1620 4850 56.5
FC4866220 240x330x220 1620 4850 56.7
FC4872220 240x360x200 1700 4410 78
FC4872220A/C4YA3 240x360x200 1700 4410 78
FC5072220/YA3 250x360x220 1500 4250 76.9
FC5274200 260x370x200 1570 4250 73
FC5274220/YA3 260x370x220 1760 4900 79.2
FC5274220 260x370x220 1760 4900 80
FC5476230/YA3 270x380x230 1720 4800 80.2
FC5478230 270x390x236 2100 5950 97.8
FC5678220 280x390x220 1790 5150 86.5
FCDP5678275 280x390x275 2200 6250 102
FC6490240/YA3 320x450x240 2460 6720 119
FCD72102370 360x510x370 3850 11400 220
FCDP74104380 370x520x380 3900 12000 296
FCDP88124450 440x620x450 5200 15800 452
FCDP88124450/YA6 440x620x450 5200 15800 452
FCD96130450 480x650x450 4750 15400 419


Lịch sử 60 năm kể từ ngày thành lập, vòng bi E-ASIA đã có được các thương hiệu SLYB, JSS.
Liên hệ chúng tôi
  SỐ 88, tòa nhà E-ASIA tầng 1-6, khu công nghiệp Jingjiang, tỉnh Giang Tô, Trung Quốc
  sales@zwz-skf.com
  +86-15996058266
  rachelsun168

Các sản phẩm

đường dẫn nhanh

Bản quyền © 2023 Công ty TNHH vòng bi E-ASIA.  Sitemap Được hỗ trợ bởi Leadong